Vistas:302 Autor:Editor del sitio Hora de publicación: 2021-04-30 Origen:Sitio
Tipos y principio de trabajo de las articulaciones de la manguera hidráulica.
Las juntas hidráulicas están conectando componentes entre tuberías hidráulicas y tuberías hidráulicas, o entre tuberías y componentes hidráulicos. Las juntas hidráulicas incluyen juntas hidráulicas para mangueras y juntas hidráulicas para tuberías duras. Solo aquí se introducen juntas hidráulicas para mangueras y mangueras hidráulicas. Un extremo de la articulación de la tubería está conectada a la manguera hidráulica (llamada extremo de la cola), y el otro extremo está conectado a otros componentes (terminales). Para garantizar la compatibilidad y el sellado sin fugas con otros componentes, el terminal de la junta de la manguera hidráulica debe diseñarse de acuerdo con las normas de la interfaz común, la función principal del extremo de la cola es para garantizar el sellado a largo plazo de la conexión. Entre la articulación y la manguera.
La forma de la interfaz de esclavos se puede dividir en los siguientes tipos:
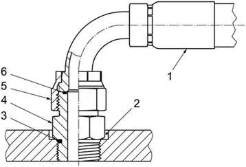
1. Conector de manguera de sellado de la cara de la cara de la junta tórica
1. Junta de la manguera 2. Puerto de aceite 3. Tolera de junta tórica 4. Tuerca de la junta 6. Tolera de la junta tácita, cuando la tuerca 5 se atornilla con la rosca externa del cuerpo de la junta, a medida que aumenta el par de apriete, el contacto de la junta de la manguera. Con la superficie del extremo del cuerpo de la articulación (pieza 4) y presione con fuerza, la junta tórica en la superficie de extremo de la junta 4 se deforma elásticamente, contacta completamente las superficies de extremo de la pieza 6 y la pieza 4 y genera presión para jugar. un papel de sellado.
Se debe prestar especial atención durante la instalación, y el anillo de sellado debe verificarse antes de la instalación.
1. Conector de manguera de cierre de conos de 24 °
1. Junta de manguera 2. Tolera tórica 3. Puerto de aceite 4. Conjunto 5. Tuerca. Cuando la tuerca 5 está atornillada con la rosca externa del cuerpo de la junta (pieza 4), a medida que aumenta el par de apriete, la junta de la manguera, la superficie del cono está en contacto con y se presiona contra la superficie del cono interior del cuerpo de la articulación (pieza 4) y la junta tórica en la superficie del cono exterior del conector de la manguera 1 se deforma elásticamente, contactando completamente las superficies de cono de las partes 6 y 4, y genera una mayor presión, juega un papel de sellado, debido al apalancamiento de la superficie del cono , la presión entre las superficies cono es mayor, y el efecto de sellado es teóricamente mejor.
Se debe prestar especial atención durante la instalación, y el anillo de sellado debe verificarse antes de la instalación.
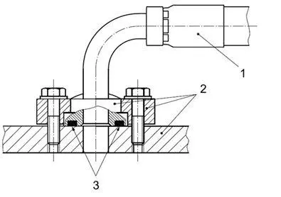
1. Conector de la manguera del extremo de la brida
1. Junta de manguera 2. Puerto de aceite, cabeza de brida, placa de presión de brida 3. Tolera de junta tórica, el cabezal de la brida de la junta de la manguera se presiona en el puerto de aceite por la placa de presión de la brida, cuando aumenta el par de apriete del perno, el perno produce Mucho la fuerza previo de apriete del perno pasa a través de la placa de presión de la brida para presionar con fuerza la cabeza de la brida contra el puerto de aceite. La junta tórica (pieza 3) en la cabeza de la brida se deforma por compresión, y el conector de la manguera (pieza 1) la cara final del cabezal de la brida y el puerto de aceite se enfrenta al contacto completamente y produce presión, lo que juega un papel de sellado. Debido al uso de pernos de alta resistencia, la presión entre las superficies de contacto es muy grande, y el efecto de sellado es teóricamente muy bueno.
Se debe prestar especial atención durante el proceso de instalación. Compruebe la junta tórica de la cara del extremo antes de la instalación.
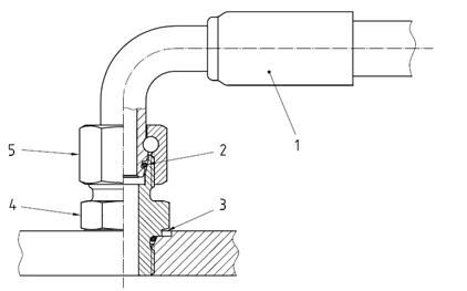
1. Conector de manguera de sty
La raíz roscada de la articulación está equipada con una lavadora en forma de O. Cuando la junta está conectada con un puerto a través de la rosca, la junta tórica está unida a la cara final del puerto de aceite para reproducir un rol de sellado.
Conector de manguera de extremo de 5,37 °
1. Tuerca de la manguera 2. Tuerca 3. Tubo de acero 4. Manga, cuando la tuerca 2 se atornilla con la rosca externa del cuerpo de la junta (pieza 1), a medida que aumenta el par de apriete, el cono externo de la junta de la manguera y la tubería de acero. (Parte 3) Las superficies del cono interno están en contacto y se presionan con fuerza, y las superficies de cono de Conector 1 y 3 de la manguera están en contacto total y producen una mayor presión, lo que juega un papel de sellado. Debido al apalancamiento de las superficies de los cono, la presión entre las superficies cono es mayor.
En el proceso de selección de juntas de tubería hidráulica, es necesario considerar la presión máxima de trabajo de la junta, la temperatura de trabajo, el tamaño de la interfaz, las dimensiones internas y las dimensiones externas de la tubería aplicables, ya sea que la instalación sea conveniente, ya sea económica, y otros factores. . La presión máxima de trabajo de la junta no debe ser inferior a la presión máxima de trabajo de la manguera.
No.359, Shunhua Road, área de alta tecnología,
Jinan 250000, China
(+86) -531-88902882 / (+86) -186-5310-9068
Copyright © 2020 ShanDong UNLE Import and Export Trade Co., Ltd. Todos los derechos reservados Soporte porsdzhidian
